Qingdao Xinguangzheng Steel Structure Co., Ltd
NOTÍCIAS
Casa / Notícias / NOTÍCIAS / Diferentes peças incorporadas na construção de aço

Diferentes peças incorporadas na construção de aço

Número Browse:0     Autor:editor do site     Publicar Time: 2024-03-16      Origem:alimentado

Inquérito

facebook sharing button
twitter sharing button
line sharing button
wechat sharing button
linkedin sharing button
pinterest sharing button
whatsapp sharing button
sharethis sharing button

No projeto e construção de peças incorporadas, os seguintes tipos são frequentemente aplicados: Barra de ancoragem incorporada, Parafuso de âncora incorporado e parafuso químico. Então, quais são suas diferenças?

As barras de ancoragem incorporadas devem ser o reforço HRB400 ou HPB300. Barras de ancoragem retas e placa de ancoragem devem ser soldadas em forma T. A soldagem de arco submersa de pressão deve ser usada quando o diâmetro da barra de ancoragem não for superior a 20 mm, e a soldagem do plugue perfurada deve ser usada quando o diâmetro da barra de ancoragem for maior que 20 mm.

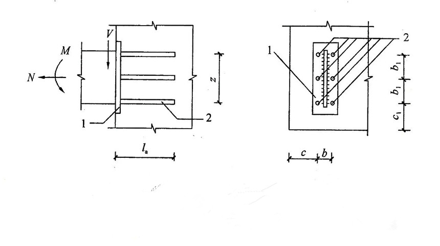
1. Haste de ancoragem

O diâmetro do reto estressado Barras de âncora Das peças incorporadas não devem ser inferiores a 8 mm e não devem ser maiores que 25 mm. O número de barras de âncora retas não deve ser inferior a 4 e não deve ser superior a 4 linhas. O comprimento da âncora da barra de âncora reta é determinado, o comprimento da ancoragem do cisalhamento e da barra de âncora reta comprimida não deve ser menor que 15d, D é o diâmetro da barra de ancoragem.

Quando a barra de ancoragem usa reforço de grau HPB300, a extremidade também deve ter um gancho curvo.


2. Barra incorporada

Q235b deve ser usado ou Q355b, e o diâmetro não deve ser inferior a 20 mm. O parafuso da âncora deve ser configurado com gancho curvo, placa de ancoragem ou feixe de ancoragem, e seu comprimento de ancoragem não deve ser menor que 25D.

4. Bolt de fundação

O âncora Bolt não deve ser usado para suportar a força de reação horizontal na parte inferior da coluna. Essa força de reação horizontal é primeiro transmitida à base de concreto através da força de atrito entre a placa do pé da coluna e a superfície do concreto; Quando a força horizontal no fundo da coluna é maior que a força de atrito, as ligações de cisalhamento precisam ser definidas para cisalhamento.

Após a instalação e correção, a placa de almofada de ancoragem (a espessura deve ser de 0,5 ~ 0,7 vezes a espessura da placa inferior) e a placa inferior deve ser soldada firmemente. Os parafusos devem ser presos com porcas duplas, e as porcas e as almofadas de parafusos devem ser soldadas.

O grau de parafuso químico é geralmente 4,8 (padrão de mercado), 5.8 (nacional nacional), 8,8 (alta resistência), composto de parafuso, porca, junta e tubo químico.

O tubo químico do Parafuso de âncora química é composto de resina de vinil, partículas de areia de quartzo e agente de cura. Através da união de argamassa de resina sintética, o parafuso forma a adesão entre o parafuso e a parede do orifício e forma o todo com o objeto ancorado, de modo a alcançar o papel de fixar o membro e melhorar a capacidade de rolamento do componente.


7. Parafuso químico


Haste de ancoragem incorporada

Âncora Bolt

Parafuso químico

Grau de aço

HRB400

Q355b

5.8s

Diâmetro (mm)

24

24

24

Área (MM2)

452.2

452.2

452.2

Seção área efetiva (mm2)

452.2

352.5

352.5

TELE ELTIMATIO

540

470

500

Resistência ao escoamento t e não (n/mm2)

400

355

400

TELO ELIGADO VALOR DE PROJETO DE RESIDE

300

180

240

Valor de design da capacidade de rolamento anti-tenso (KN)

81.4

63.5

84.6



No. 268, Sancheng Road, Pingdu, Qingdao, Shandong, China
Mobile / WeChat / WhatsApp:
+86-158-5320-9069 / +86-178-0625-1013
Sobre nós
"Paixão, praticidade, gratidão e transcendência " é o nosso espírito corporativo.

Público

Pessoal

Links da empresa
Categorias de Produtos
Nosso projeto
Copyrights © 2021 Qingdao Xinguangzheng Steel Structure Co., Ltd. All Rights Reserved  Technology by leadong